Toggle search
Search
Toggle menu
notifications
Toggle personal menu
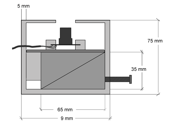
DIY MICROSCOPE SKETCH
From Medien Wiki
Views
Read
View source
View history
associated-pages
Page
Discussion
More actions